私の糖尿病50年-糖尿病医療の歩み
35.糖尿病ラットができた:無から有が出た
1. ラット250匹を発注して開始
1971年春の新卒者8名が入局するのを待って診療を始めた。インターン制度もなく実地の経験のない学士試験を通っただけの医局員なので、他の医局からいただいた講師の方々や古手の助手の方々は、日常診療のやり方を指導するのに大変であった。2年が過ぎて診療も軌道にのり実験室にも測定器が並ぶようになった。そこで遺伝の研究をやりたいという希望をもって入局した柿崎正栄助手に正常ラットから糖尿病ラットを作る実験計画を話した。柿崎助手は計画に同意し、日本クレア野川飼育場にWistar系ラットを250匹発注した。米国で研究していたとき、マロニービル7階にあった実験室の窓から下を見ると道路の向側にWistar研究所があり、脂肪組織の代謝に使用するラットはそこから購入していたので、Wistarラットには特別な思いを抱いていた。
体重Kg当りグルコース2gとなるようにグルコース液を注射器に入れ、注射針の代わりに金属製のラット胃ゾンデをつけて胃内に注入した。血糖測定は、まだ簡易血糖測定器のない時代であったので、尻尾の先端を傷つけて血液0.05mlをハーゲドロンピペットで吸い取って除蛋白試薬に入れ、除蛋白した濾液にglucostat(Glucose-Oxidase)を反応させて比色定量した。負荷前、グルコース負荷後30分、60分、90分、120分と5回採血し、放尿したときにはTes-Tapeで尿糖をチェックした。この方式で筆者と柿崎助手は1973年10月2日から実験を始めた。GTTでは血糖がやや高値で特に60、90、120分値が高いものを選んで、1、2週後に再度GTTを行った。このようにして雄130匹、雌81匹の中から比較的GTTが正常より逸脱しいるもの雄9匹、雌9匹を選んで交配を行った。糖尿病のものはいなかった。次第にGTTを行うラットが増えたので柾木尚義医師にも手伝ってもらった。
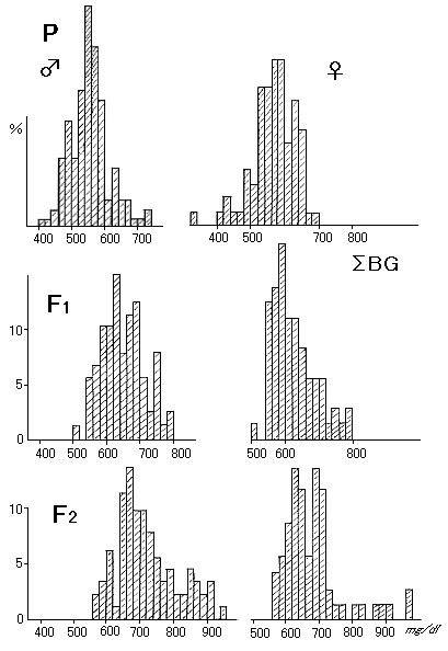
交配によって雄89匹、雌73匹が生まれた。これらの仔は体重80gになった時点で雄、雌を別々のケージに入れて飼育した。これらが体重150〜180gになるのを待って同様にGTTを行い、逸脱の度合いの強いものを選んで、1、2週後に再度GTTを行い雄12匹、雌13匹を選んで交配を行った。このようにしてF2は雄116匹、雌88匹が生まれた。そしてF2にはGTTが糖尿病型のものも現れた。GTTの5つの血糖値の和を血糖和として、その分布を図1に示したが、F1、F2と血糖和が高値に偏位するのが明確になった。GTTの平均値は次のようであった。
群 | 性 | 数 | 空腹時 | 30分 | 60分 | 90分 | 120分 | 血糖和 (mg/dL) | |
|
| |||||||||
P | M | 130 | 79 | 139 | 131 | 107 | 95 | 552 | |
P | F | 81 | 81 | 142 | 129 | 112 | 103 | 568 | |
F1 | M | 89 | 96 | 167 | 149 | 126 | 112 | 649 | |
F1 | F | 73 | 93 | 157 | 136 | 121 | 115 | 624 | |
F2 | M | 116 | 103 | 192 | 162 | 137 | 123 | 719 | |
F2 | F | 88 | 102 | 180 | 152 | 136 | 126 | 698 | |
|
2. 成果を早く知らせたい
この結果をみて、「糖尿病ラットができた」と思った。これはまさしく何年間も抱いていた作業仮説がその通りに証明されたことになる。1974年初夏のことで、筆者はその頃非常に興奮していた、と後に教室員が語っている。1日でも早く成果を知らせたいと思い1974年7月18日(木)弘前大学臨床講堂で開かれた第78回弘前医学会例会で「耐糖能低下ラットの累代交配による糖尿病状態の出現」の演題で柿崎、柾木、後藤の名で柿崎助手が-
発言
- この実験成績は糖尿病の遺伝は多因子によることを示すものであり、1、2の遺伝子で決定されるという説を否定するものといえる。
- さて、耐糖能の低下をさらに濃縮した場合にketoticな若年型糖尿病ができるか否かを今後追及するが、もし重症のものができれば、成人型、老年型というものは本質的な差がないことになる。
- 重症になれば繁殖力が低下するが、その場合インスリン注射でコントロールして交配すれば正常ラットが生まれるか、やはり糖尿病ラットか。また正常ラットとの交配では何代で全て正常となるかなどの問題がある。この研究では糖尿病の予防についても示唆が得られよう。
- 糖尿病ラットができれば血管合併症の研究も、また糖尿病の治療法の研究も可能となる。
- このように正常ラットから選抜交配の継続による自然発症糖尿病を弘前糖尿病と呼びたい。
- 同様な方式で高脂血症、高尿酸血症動物なども作ることが可能と考えられる。(弘前医学、444-445頁、1974年)
左から柿崎、後藤、柾木、福士の諸氏
|
|
|
![]() 左は生後2週目
|
※ヘモグロビンA1c(HbA1c)等の表記は記事の公開時期の値を表示しています。
Copyright ©1996-2026 soshinsha. 掲載記事・図表の無断転用を禁じます。
治療や療養についてかかりつけの医師や医療スタッフにご相談ください。

医療・健康情報グループ検索
